1. 서 론
2. 현장실험을 통한 토압 분석
3. 고전 이론식에 의한 토압 분석
3.1 이론식을 통한 토압 도출 절차
3.2 현장실험 결과를 통한 이론식 검증
4. 관 직경 및 기초 조건에 따른 콘크리트 매설관의 구조적 안정성 평가
4.1 이론식을 통한 관기초 검토 절차
4.2 관 직경 및 기초 조건에 따른 콘크리트 매설관의 구조적 안정성 평가
5. 결 론
1. 서 론
지중 매설관은 인류가 살아가는데 필수적인 사회기반 시설물로서, 상하수도, 석유, 가스, 전력 등 기반 시설을 지중에 매립하여 설치할 때 이용된다. 한국토지주택공사(LH)에서는 공공주택단지, 산업단지 등의 기반 시설을 지하화하기 위해 매설관을 활용하고 있으나, 활용도에 비해 매설관의 공학적 특성 및 설계 등 매설관의 구조성능 평가를 위한 관심도는 낮은 실정이다.
일반적으로 매설관에 작용하는 외부하중은 토압, 차량 및 열차하중, 흙의 함몰, 온도 하중, 지진 하중, 동상압(frost load), 부양(flotation) 하중, 팽창하중 등이 작용하는 것으로 알려져 있다(Ryu et al., 2017). 여기서, 공공주택단지 및 산업단지에 설치되는 매설관의 경우 대부분 도로포장 아래에 설치되어 있으며 주로 토압(정압)과 더불어 차량하중(윤압)이 작용하므로 토압과 더불어 차량하중을 받는 매설관의 거동 특성에 관한 연구들이 주로 수행되어 왔다.
매설관에 작용하는 토압에 관한 이론적 연구는 초창기에 Marston and Anderson(1913)에 의해 수행되었으며, 이후 Spangler(1941)에 의해 설계 시 활용 가능한 실험자료가 정립되었다. 이후로는 매설환경 및 하중 조건(수평하중, 지진하중 등)이 지하매설관에 미치는 영향을 분석하기 위한 다수의 기초 연구들이 수행되었다(Trautmann et al., 1985; Trautmann and O’Rourke, 1985; Barenberg, 1988; Zarghamee and Fok, 1990).
이후 국내에서는 매립관의 거동 특성을 분석하기 위해 실내실험 및 현장실증실험이 수행된 바 있다. 먼저, Lee et al.(2002)은 차량하중을 받는 전력케이블용 지중연성관(PE 파형관)의 거동 특성을 분석하기 위해 전산해석 및 실내 모형토조 실험을 수행하였다. 위 연구에서는 지중연성관 상단의 압력 분포가 표층부에 가까울수록 큰 값을 보이며 매설심도가 깊어질수록 포물선 형태로 감소함을 설명하였다. 이후 Lee et al.(2003)은 앞서 수행하였던 전산해석 및 실내 모형토조 실험과 더불어 PE 파형관의 현장 실증실험을 수행하였다. A-1급 도로포장 아래 80cm, 100cm, 120cm 깊이로 관을 매설하여 DB-24 후륜하중을 받는 관의 작용압력-변형률 특성을 분석하였으며, 이를 통해 매설깊이 80cm 이상에서는 매설관의 허용 변형률 기준(3.5%)을 충족할 수 있음을 확인하였다. 또한 Cho et al.(2013)은 현장실험을 통하여 매설심도 변화(80~120cm)에 따른 가스관(API5L)의 응력 변화를 분석하였으며, 관의 길이방향으로 작용하는 축방향응력을 계측하였다. 결과적으로, 80~120cm 매설심도에서는 매설심도 저심도화가 지중매설 가스관의 안정성에 영향을 미치지 않는 것으로 평가되었다.
실내실험 및 현장실증실험과 더불어 매설관에 대한 수치해석적 연구 또한 국내에서 꾸준히 진행되어 왔다. Yoo et al.(2008)은 동적하중에 대한 매설관의 영향도를 살펴보기 위해 수치해석을 통한 열차이동하중에 대한 영향도 평가를 수행하였다. 열차이동하중에 의한 지중매설관의 응력 분포에서는 매설깊이가 증가할수록 응력이 다소 감소하였는데, 이는 매설토피가 증가할수록 하중저감효과로 인해 열차이동하중의 영향이 감소하기 때문인것으로 나타났다. 위 연구와 유사하게 Ban et al.(2013)은 교통하중을 받는 콘크리트 매설관의 거동성을 평가하기 위해 수치해석을 수행하였으며, 해석을 통해 천단부분(crown)에서 가장 큰 응력이 발생하며 매설관의 상부 어깨면을 따라 응력이 점점 감소하는 것으로 나타났다. 위 연구에서는 매설 깊이(H)와 매설관의 직경(D) 비를 가장 중요한 인자로 보고 연구를 수행하였으며, 매설관의 깊이는 최소한 H/D=2 이상을 확보하여야 함을 설명하였다. 또한 Ryu et al.(2017)은 상재하중의 재하위치 및 매설심도를 고려한 지중 매설관의 구조거동을 수치해석을 통해 평가하였으며, 매설관의 응력거동은 관의 두께에 가장 민감함을 확인하였다.
위 연구들에서 도출된 결과를 종합해보면, 지중 매설관의 매설깊이가 증가할수록 차량하중이 감소하므로 일정량 이상의 최소토피고를 확보하는 경우 안정성을 확보할 수 있는 것으로 나타났다. 유사하게, LH 설계지침(토목)의 경우에도 관로의 최소 흙 두께를 원칙적으로 1m 확보하도록 제시하고 있다(LH, 2024). 또한 국외의 사례를 보면, 미국 0.9~1.2m, 프랑스 0.8m, 영국 0.45~0.9m, 캐나다 0.8~1m 등으로 조사된 바 있으며, 전반적으로 세계 각국의 최소 매설깊이를 약 1m로 제시하고 있다(Cho et al., 2013).
앞서 설명한 바와 같이 국내외에서는 매설관의 최소 흙 두께를 약 1m로 제시하고 있다. 그러나, 국내에서 사용하는 콘크리트 매설관의 경우 관의 직경이 0.25~1.5m로 다양하므로, 관의 직경에 따라 매립관이 받는 하중분포의 차이로 인해 구조적 거동이 달라질 수 있으며, 매립관의 안정성을 확보하기 위한 기초 조건 또한 달라질 수 있을 것으로 판단된다. 그러나, 기존 연구들은 매설깊이 또는 하중 조건에 중점을 두었으나, 최소토피고 조건 하에서 관의 직경과 기초 조건에 따른 매립관의 거동 특성을 분석한 연구는 부족한 실정이다.
본 연구에서는 관 직경 및 기초 조건에 따른 콘크리트 매립관의 안정성 평가를 수행하였다. 먼저, 현장실험을 통해 최소 토피고 1m 조건에서 매립관에 작용하는 토압 및 차량하중(윤압)을 측정하였다. 다음으로, 현장실험 결과를 바탕으로 이론식을 검증하였으며, 관 직경에 따른 토압 및 차량하중 특성을 분석하였다. 마지막으로, 토피고 1m 조건에서 관 직경에 따라 안전율을 확보할 수 있는 기초 조건 및 H(토피고)/D(관 직경) 비를 제시하였다.
2. 현장실험을 통한 토압 분석
LH에서 많이 사용하는 콘크리트 매립관의 건정성을 실험적으로 분석하기 위해 경기도 화성시 동탄에 위치한 LH 현장에서 실험을 수행하였다. 실험을 위해 되메움 토피고 1m 아래에 콘크리트 사각관(원심력 사각 수로관, D300)과 원형관(D500)을 설치하였다. 먼저, 폭(B=1.5m), 길이(L=3.5m)의 면적을 굴착하였으며, 사각관은 깊이(H=1.5m), 원형관은 깊이(H=1.6m)를 굴착하였다. Figure 1은 이러한 관거의 매립도(시공 평면도)를 보여주고 있다. 사각형과 원형관을 위치시킨 후 되메움 및 소형핸드롤러로 다짐을 수행하였으며, 각각의 목표 상대다짐도(비다짐, 80%, 90%, 95%) 조건을 확인하기 위해 소형충격재하시험(LFWD; Light Falling Weight Deflectometer)을 수행하였다. 원형관의 경우 곡면 형상으로 인해 재하되는 하중을 정확하게 측정하기 어려우므로, 본 연구에서는 원형관과 동일한 선상에 사각관을 설치하여 계측기를 부착하였다. 사용된 계측기는 GS-5K로 직경 10cm, 두께 2.5cm로서 사각관의 상부와 측면에 각각 부착하여 연직방향 및 수평방향의 응력을 측정하였다(Table 1).
Table 1.
Performance and Characteristics of earth pressure cells (GS-5k)
Figure 2는 현장의 콘크리트관 매설 위치의 평면도를 보여주고 있다. 그림과 같이 각각의 상대다짐도 구역에서 사각관과 원형관을 직선상으로 배열하였으며, 덤프트럭을 점선 위치를 따라 약 350회 주행시켜 센서를 통해 토압을 측정하였다. 여기서 18m는 상대다짐도에 따른 시험부지의 길이를, 3m는 부지 끝단에서 관로까지 떨어진 길이를 나타낸다.
본 연구에서는 현장에서 가용한 15ton 트럭(차량중량 11.25ton, 적재하중 15ton, 총중량 26.25ton)을 이용하여 주행시험을 실시하였으며, 초기 주행 시 도출된 응력 값을 사용하였다. Figure 3은 시험으로 도출된 토압을 간략히 보여주고 있으며, 콘크리트 관거에 작용하는 초기 연직토압(토압)은 , 차량 하중을 고려한 연직토압(토압+윤압)은 로 나타내었다. 여기서, 차량 하중으로 인한 연직 응력 증분(윤압, )은 식 (1)과 같이 도출하였다.
Figure 4 및 Table 2는 토피고 1m 상태에서 도출된 사각 콘크리트 관거의 초기 토압과 윤압을 측정한 결과를 보여주고 있다. 그림 및 표에서는 목표 상대다짐도(비다짐, 80%, 90%, 95%)의 결과를 보여주며, 상대다짐도 80%의 경우 초기 연직토압이 비정상적으로 크게 측정되었으므로 계측 오류로 판단하여 해당 데이터를 표에서 제외하였다. 그림 및 표를 보면, 트럭에 의한 응력증분(윤압)은 비다짐에서 가장 크고, 상대다짐도가 증가할수록(~90%) 감소하는 것으로 나타났다. 이는 다짐도가 낮은 경우 트럭에 의해 전달되는 윤압이 크게 작용하지만, 규정대로 90% 이상 다진 지반의 경우 관에 작용하는 윤압의 영향이 크게 감소하기 때문으로 판단된다. 또한 다짐도가 95%를 초과하는 경우 윤압이 약간 증가하였는데, 이는 과다짐에 의한 것으로 보인다. 반면, 초기연직토압 및 초기수평토압의 경우 상대다짐도가 증가할수록(~90%) 증가하는 것으로 나타났다. 이는 굴착구간 바로 위의 흙기둥 전체만이 관에 전달되는 것이 아니라 굴착면에 인접하는 흙기둥 사이의 전단마찰력을 상쇄한 하중 전체가 관에 작용하기 때문에 연직토압이 일반적인 흙의 단위중량을 넘어서 증가한 것으로 판단된다(KWWA, 2020).
Table 2.
Measured earth pressure results on buried concrete pipes
또한 Table 2의 연직토압 및 수평토압의 관계를 살펴보면, 먼저 비다짐 조건의 경우 실측된 초기 연직토압은 21.7kPa, 수평토압은 6.4kPa로 실측 토압계수는 약 0.295로 도출되었다. 이는 해당 지반의 내부마찰각(43°)을 이용한 이론적 정지토압계수인 0.318(1-sin43°)과 유사한 것으로 나타났는데, 이는 다짐이 되지 않은 자연 상태에서 이론식이 토압 거동을 적절히 모사하는 것으로 판단된다. 그러나, 동적 다짐을 수행하여 상대밀도가 90%로 증가한 경우, 초기 연직토압이 37.6kPa, 수평토압이 16.9kPa로 측정되어 동적토압계수가 약 0.45로 증가하였다. 이는 다짐 장비 사용으로 인해 수평응력이 증가하게 되고, 지반의 구속력을 증가시켜 수평토압 및 토압계수를 증가시킨 것으로 판단된다. 본 결과는 동적 다짐을 수행하였던 Roe(2001)의 연구에서도 도출된 결과로, 뒤채움 다짐 시에는 정지토압계수보다 큰 동적토압계수가 도출됨을 실험을 통해 검증한 바 있다.
3. 고전 이론식에 의한 토압 분석
3.1 이론식을 통한 토압 도출 절차
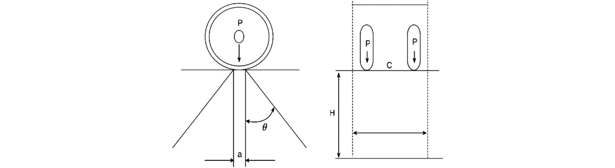
콘크리트 매설관에 영향을 주는 작용하중으로는 매립토에 의한 수직토압과 활하중(차량하중)에 의한 윤압을 들 수 있다. 한국상하수도협회 하수도설계기준(KWWA, 2020)에서는 매설토의 수직토압에 의해 작용하는 수직등분포 하중을 구하기 위해 수직토압공식, Marston 공식, Janssen 공식을 이용하도록 제시하고 있으며, 본 연구에서는 실무에서 널리 사용되는 Marston 공식을 통해 수직토압을 도출하였다. 일반적으로 사용되는 Marston 공식은 식 (2)와 같다.
여기서,
= 관이 받는 수직하중(kN/m)
= 흙의 종류, 흙두께, 굴착폭 등에 따라 결정되는 상수
= 매설토의 단위중량(kN/m3)
= 관의 유효 하중 폭을 나타내며, 관로의 수평 중심선(관로 상부 90° 지점)을 기준으로 한 관이 받는 유효한 하중 폭(m)을 의미
매설관로의 상부로 차량 등이 통행하는 경우 해당 하중이 활하중으로 가산되는데 차량하중은 후륜하중을 사용하며 전륜하중의 영향은 무시하고 있다(KWWA, 2020). 식 (3)은 활하중(차량하중)에 의한 윤압을 나타내며, Figure 5는 및 후륜하중의 작용을 그림으로 보여주고 있다.
여기서,
= 관이 받는 윤압(N/m2)
= 후륜하중(0.4 × 차량의 적재하중)
= 차륜접지길이(참고치수 0.2m)
= 차륜점유폭(참고치수 2.75m)
= 분포각(참고치수 45°)
= 충격계수(흙두께 1.5m 이하인 경우 0.5)
= 흙 두께(m)
앞서 도출된 수직토압() 및 윤압()을 더하여 최종적으로 매설관에 작용하는 등분포하중()을 도출한다.
3.2 현장실험 결과를 통한 이론식 검증
본 절에서는 2장 현장실험을 통해 도출된 토압과 3.1장의 이론식을 통해 도출된 토압을 비교하였으며, 이를 바탕으로 이론식의 적용성을 평가하였다. 해당 지반의 경우 매설토의 단위중량 및 내부마찰각은 각각 18.6kN/m3, 43°이며 터파기 경사 1:0.5, 터파기 여유폭 30cm를 적용하여 관 상단의 도랑 폭()을 결정하였다. 이후 Marston 공식을 통해 1m 깊이에서의 수직하중(kN/m)을 결정하였으며, 이를 관 직경으로 나누어 단위 면적 당 수직하중(kN/m2)을 도출하였다. 활하중(차량하중)의 경우 현장에서 가용한 15 ton 트럭(적재하중 15 ton, 총중량 26.25 ton) 하중을 적용하여 후륜하중(15×0.4=6t, 58.8kN)을 통한 윤압을 산정하였다. 차량하중의 경우 차량 점유폭 2.75m, 차륜 접지 길이 0.2m, 분포각 45°를 적용하였으며, 충격계수는 깊이 1.5m 미만이므로 0.5를 적용하였다.
Table 3은 1m 깊이에서 현장실험 및 이론식을 통해 도출된 윤압 및 토압 결과를 보여주고 있다. 하수관로공사 표준시방서(MOLIT KCS 61 20 15)에 따르면, 관로 주위 뒤채움은 상대다짐도 90% 이상을 원칙으로 하므로, 현장실험에서 다짐이 충분히 다져져 최대연직토압이 도출된 상대밀도 90%의 조건을 선정하였다. 따라서 본 연구의 이론식 검증 및 매개변수 연구는 상대다짐도 90% 이상의 적정 시공 조건을 전제로 수행되었다. 표를 보면, 현장실험(상대다짐도 90%)을 통해 도출된 윤압 및 토압은 각각 29.0kPa, 37.6kPa이며, 이론식을 통해 도출된 윤압 및 토압은 각각 29.2kPa, 36.7kPa로 도출되어 해당하는 고전의 이론식이 실험결과를 적절하게 모사함을 검증하였다. 그러므로 4장에서는 이론식을 바탕으로 콘크리트 매설관의 구조적 안정성 평가를 수행하였다.
Table 3.
Comparison of measured and theoretically calculated earth and wheel load (relative compaction 90%, H=1m)
| Load component |
Field measurement (RC 90%) |
Theoretical calculation (KWWA, 2020) |
| Wheel load stress increment (, kPa) | 29.0 kPa | 29.2 kPa |
| Initial vertical earth pressure (, kPa) | 37.6 kPa | 36.7 kPa |
4. 관 직경 및 기초 조건에 따른 콘크리트 매설관의 구조적 안정성 평가
4.1 이론식을 통한 관기초 검토 절차
본 절에서는 앞서 실험을 통해 검증하였던 이론식을 바탕으로 실무에서 우수관으로 많이 사용되는 원심력철근콘크리트관(KS F 4403 보통관 2종 B형)의 구조적 안정성을 평가하였다. LH 설계지침(토목)의 경우 안전율() 1.1을 적용하고 있으므로, 이를 통해 구조적 안정성을 평가하였다(LH, 2024). 안전율을 비교하기 위해서는 허용등분포하중()을 산정하여 이를 3.1장에서 도출하였던 등분포하중()으로 나누어 식 (4)와 같이 산정할 수 있다.
허용등분포하중()은 최대허용저항휨모멘트 발생 시 매설관에 작용하는 등분포하중으로 실무에서는 식 (5)와 같이 산정한다.
여기서,
= 최대허용저항휨모멘트(kN·m/m)
= 관의 외압강도(kN/m)
= 관의 m 당 중량(kN/m)
= 관 벽체 두께 중심반경(m)
= 관의 받침조건에 따라 변하는 계수
위에서 관의 받침조건에 따라 변하는 계수()는 관의 기초타입 및 각도조건에 따라 달라지며, 고정받침(콘크리트) 및 자유받침(모래)의 경우 Table 4 값을 사용할 수 있다. 일반적으로, 모래 기초는 경질토 및 보통토에 사용되며 콘크리트 기초는 연약토에 주로 사용된다.
Table 4.
Coefficient based on bedding angle 2 (degrees) (KWWA, 2020)
|
Bedding angle 2 (degrees) |
Rigid support (concrete bedding) |
Flexible support (sand bedding) |
| 60 | - | 0.377 |
| 90 | 0.303 | 0.314 |
| 120 | 0.243 | 0.275 |
| 180 | 0.220 | - |
4.2 관 직경 및 기초 조건에 따른 콘크리트 매설관의 구조적 안정성 평가
서론에 설명한 바와 같이 국내외에서는 매설관의 최소 흙 두께를 약 1m로 제시하고 있다. 그러나, 국내에서 사용하는 콘크리트 매설관의 경우 관의 직경이 0.25~1.5m로 다양하므로 관의 직경에 따라 매립관이 받는 하중분포의 차이로 인해 구조적 거동이 달라질 수 있으며, 매립관의 안정성을 확보하기 위한 기초 조건 또한 달라질 수 있다. 그러므로 본 연구에서는 관 직경 및 기초 조건에 따른 콘크리트 매립관의 안정성 평가를 수행하였다. 관 직경의 경우 0.25~1.5m의 크기를 적용하였으며, 기초 조건의 경우 모래기초 및 콘크리트 기초의 각도를 변경하여 각 조건에 따른 안전율을 비교하였다.
일반적으로 윤압 산정을 위한 차량 하중 조건의 경우, 실무에서 3가지 DB를 주로 활용한다(DB-13.5, 18, 24). DB-13.5는 13.5 ton의 적재하중과 24.3 ton의 총중량을, DB-18은 18 ton의 적재하중과 32.4 ton의 총중량을, DB-24는 24 ton의 적재하중과 43.2 ton의 총중량을 의미한다. 또한 앞서 3.1장에서 설명한 바와 같이 적재하중에 0.4를 곱해 후륜하중()을 산정한다. 본 연구에서는 18 ton 차량 하중(트럭) 조건을 선정하였으며, 70.6kN의 후륜하중(18×0.4=7.2t, 70.6kN)을 적용하였다. 또한 Table 5는 구조적 안정성 평가를 위해 원심력철근콘크리트관(KS F 4403 보통관 2종 B형)의 직경에 따라 적용된 물성치 중 몇 가지를 정리하여 보여주고 있으며, 관의 외압강도()는 균열강도를 의미한다.
Table 5.
Input material properties by pipe diameter for structural stability evaluation
Figure 6 및 Table 6은 모래기초가 적용된 매립관에 덤프트럭 18 ton의 윤압이 작용하는 경우의 안전율을 보여준다. 그림에서는 모래기초 받침각의 각도를 60도, 90도, 120도로 조정한 결과를 나타내고 있다. 덤프트럭 결과를 보면, 매립관의 직경이 증가할수록 안전율이 감소하는 것으로 나타났다. 먼저, 모래기초 60을 적용하는 경우 250mm의 관에서 안전율이 1.97로 도출되었으나 500mm 관에서 안전율이 1.17로 감소하였다(검은색 화살표). 관의 직경이 500mm를 초과하는 경우 안전율이 1.1 미만으로 감소하여 관로 안정성을 확보하지 못하는 것으로 나타났다. 다음으로, 모래기초 90을 적용하는 경우에는 250mm의 관에서 안전율이 2.37로 도출되었으나 1,000mm 관에서 안전율이 1.11로 감소하였다(빨간색 화살표). 관의 직경이 1,000mm를 초과하는 경우 안전율이 1.1 미만으로 감소하여 관로 안정성을 확보하지 못하는 것으로 나타났다. 마지막으로 모래기초 120을 적용하는 경우에는 250mm의 관에서 안전율이 2.7로 도출되었으며, 1,500mm 관에서 안전율이 1.15로 감소하여 안전율을 확보할 수 있는 것으로 나타났다(초록색 화살표).
Table 6.
Derivation of safety factor according to pipe diameter and bedding conditions (18 ton dump truck, sand bedding condition)
Figure 7 및 Table 7은 콘크리트기초가 적용된 매립관에 덤프트럭 18 ton의 윤압이 작용하는 경우의 안전율을 보여준다. 그림에서는 콘크리트기초의 각도를 90도, 120도, 180도로 조정한 결과를 보여준다. 유사하게, 덤프트럭 결과를 보면 매립관의 직경이 증가할수록 안전율이 감소하는 것으로 나타났다. 먼저, 콘크리트기초 90을 적용하는 경우 250mm 관에서 안전율이 2.45로 도출되었으나 1,200mm 관에서 안전율이 1.11로 감소하였다(검은색 화살표). 관의 직경이 1,100mm를 초과하는 경우 안전율이 1.1 미만으로 감소하여 관로 안정성을 확보하지 못하는 것으로 나타났다. 그러나, 콘크리트 기초 120 및 180을 적용하는 경우에는 250mm 관에서 안전율이 각각 3.06, 3.38로 도출되었으며, 1,500mm 관에서도 안전율이 각각 1.31, 1.44로 도출되어 관로 안정성을 확보할 수 있는 것으로 나타났다.
Table 7.
Derivation of safety factor according to pipe diameter and bedding conditions (18 ton dump truck, concrete bedding condition)
Table 8은 앞서 도출된 결과를 바탕으로 관 직경에 따라 적용 가능한 기초 조건을 정리하여 보여주고 있다. 표를 보면, 관 직경이 500mm 이하인 경우에는 모래기초 60, 90, 120을 모두 적용할 수 있으나, 관 직경이 500~1,000mm 범위에 있는 경우 모래기초 90, 120을 적용할 수 있는 것으로 나타났다. 또한 관 직경이 1,000mm를 초과하는 경우 모래기초 120를 적용하는 경우에만 안전율을 확보할 수 있는 것으로 나타났다. 또한 관 직경이 1,200mm 이하인 경우에는 90, 120, 180의 콘크리트 기초를 적용할 수 있으나 관 직경이 1,200mm를 초과하는 경우에는 120, 180의 콘크리트 기초를 적용하는 경우에만 안전율을 확보할 수 있는 것으로 나타났다. 결과적으로, 안전율 1.1을 확보하기 위해 관 직경이 증가할수록 받침계수 를 최소화하는(기초의 받침각을 증가시키는) 기초 조건의 강화가 필수적으로 보이며, 받침각 증가는 관체에 발생하는 최대 모멘트를 효과적으로 감소시켜 구조적 저항력을 보강하는 것으로 판단된다.
Table 8.
Recommended bedding conditions to ensure FS 1.1 (for 1.0 m cover depth based on 18 ton truck load)
결과적으로, 토피고 1m 조건에서 관 직경에 따라 안전율을 확보할 수 있는 기초 조건이 달라지는 것으로 나타났다. 특히 직경이 증가함에 따라 안전율이 감소하였는데 이는 관 직경이 증가함에 따라 불리한 H(토피고)/D(관 직경) 비율에 놓이게 되는 것으로 보인다. Figure 8은 H/D 비율에 따른 모래기초 및 콘크리트 기초의 안전율을 비교하여 보여주고 있다. 그림을 보면, H/D가 2 이상으로 증가하는 경우 모든 모래기초에서 안전율을 확보할 수 있는 것으로 나타났다. 콘크리트 기초의 경우는 H/D가 0.83 이상인 경우 모든 콘크리트기초에서 안전율을 확보하는 것으로 나타났다. 또한, 안전율의 변화를 보면, H/D가 2 미만인 구간에서는 H/D가 1 상승할 때마다 평균 안전율이 약 16% 상승한 반면, H/D가 2 이상인 구간에서는 평균 안전율이 약 34% 상승하는 것으로 나타났다. 이는 H/D가 2 이상인 경우, 직경이 감소함에 따라 관체의 허용하중()이 매설관에 작용하는 총 하중()을 상회하는 속도로 증가함을 의미한다. 본 결과는 매설관의 깊이를 최소한 H/D=2 이상 확보하여야 함을 강조한 Ban et al.(2013)의 연구결과와 유사한 방향을 보이는 것으로 판단된다. 그러나, 여기서 H/D 비율은 최소토피고(H)의 변화가 아닌, 최소 토피고가 1m로 고정된 조건에서 관경(D)의 변화에 따른 안전율 변화를 분석한 것이다. 따라서 본 결과는 최소 토피고 조건에서의 관경별 기초 적용성을 평가하는 지표로 활용되어야 하며, 심도가 깊어짐에 따라 토압이 지배적으로 증가하는 조건까지 일반화하여 적용하는 것은 어려울 것으로 판단된다.
앞서 설명했던 결과를 정리해 보면, 매설관의 설계 시 직경 크기에 따라 안정성을 확보할 수 있는 적절한 기초 받침각을 적용하는 것과 더불어 기초 종류에 따른 최소 H/D를 확보하는 것이 필요할 것으로 나타났다. 특히 모래기초의 경우에는 H/D를 2 이상 확보하고, 콘크리트기초의 경우에는 H/D를 1 이상 확보하는 것이 보수적인 관점에서 적절한 것으로 판단된다.
본 연구에서는 일정한 해석 조건에서의 안전율을 도출하여 관 직경이 달라짐에 따라 적용가능한 기초 조건과 H/D 값을 제시하였으며, 유사한 조건을 만족시키는 경우 안전율 범위를 추정하기 위한 레퍼런스로 사용할 수 있을 것으로 보인다. 그러나, 본 해석 조건에 비해 활하중에 따른 윤압이 증가하는 경우(덤프트럭 DB-18 하중 재하 이상), 1m 토피고를 확보하지 못하거나 과도하게 심도가 깊어지는 경우, 해당 토질 조건과 크게 달라지는 등의 경우에는 국내외 지침서를 통해 매설관의 구조적 안정성을 평가하는 것이 적절할 것으로 판단된다.
5. 결 론
본 연구에서는 현장실험을 통해 최소토피고 1m 조건에서 매립관에 작용하는 토압 및 윤압을 측정하였으며, 이를 바탕으로 이론식을 검증하였다. 다음으로, 토피고 1m 조건에서 관 직경에 따라 안전율을 확보할 수 있는 기초 조건(받침각)을 제시하였다. 이를 통해 안전율 적용의 최소 요건을 정량적으로 제시함으로써, 현행 설계 기준 개정을 위한 실무적 근거를 제공하였다. 본 연구를 통해 도출된 결과는 다음과 같다.
(1) 먼저, 본 연구에서는 현장실험 및 이론식(KWWA, 2020)을 통해 도출된 윤압 및 토압을 비교하였다. 현장실험(상대다짐도 90%, 최소토피고, 15 ton 트럭조건)을 통해 도출된 윤압 및 토압은 각각 29.0kPa, 37.6kPa이며, 동일한 조건에서 이론식을 통해 도출된 윤압 및 토압은 각각 29.2kPa, 36.7kPa로 도출되어 해당하는 고전의 이론식이 실험결과를 적절하게 모사함을 검증하였다.
(2) 이론식을 통한 매립관의 안정성을 검토한 결과(최소토피고, DB-18 조건), 매립관의 직경이 증가할수록 안전율이 감소하는 것으로 나타났으며, 직경이 증가할수록 받침계수 를 최소화하는(받침각을 증가시키는) 기초 조건의 강화가 필수적인 것으로 나타났다. 이는 받침각의 각도가 증가하는 경우, 관체에 발생하는 최대 모멘트를 효과적으로 감소시켜 구조적 저항력을 보강하는 것으로 판단된다.
(3) 결과적으로 모래기초를 적용하는 경우, 직경 500mm 이하의 소구경 관은 모래기초 받침각 60° 이상의 조건에서, 1,000mm 이하의 중구경 관은 모래기초 90° 이상을, 1,000mm를 초과하는 대구경 관은 모래기초 120° 이상을 적용해야만 최소 안전율 기준(1.1)을 확보하는 것으로 나타났다. 콘크리트 기초를 적용하는 경우, 직경 1,200mm 이하의 관은 콘크리트기초 받침각 90° 이상 조건에서, 직경 1,200mm를 초과하는 관은 콘크리트 기초 120° 이상을 적용해야만 안전율 기준을 확보하는 것으로 나타났다.
(4) 또한 H(토피고)/D(관 직경) 비율에 따른 모래기초 및 콘크리트 기초의 안전율을 평가한 결과, H/D가 2 미만인 구간에서는 H/D가 1 상승할 때마다 평균 안전율이 약 16% 상승한 반면, H/D를 2 이상 확보하는 경우 평균 안전율이 약 34% 상승하는 것으로 나타났다. 특히, 모래기초의 경우에는 H/D를 2 이상 확보하고, 콘크리트기초의 경우 H/D를 1 이상 확보하는 것이 보수적인 관점에서 적절할 것으로 판단된다. 또한 본 연구에서 제시한 H/D 비율은 최소 토피고(H=1m) 조건의 관로 설계 시에 한하여 적용하는 것이 타당하다.
(5) 본 연구에서는 일정한 해석 조건의 안전율을 도출하여 관 직경에 따라 적용가능한 기초 조건을 제시하였으며, 본 연구와 유사한 조건을 만족시키는 경우 안전율 범위를 추정하기 위한 레퍼런스로 사용할 수 있을 것으로 보인다. 그러나 본 연구에서는 일정한 관경 크기의 실험 구조물에 대해서 이론해를 검증하였으므로 향후 다양한 관경 크기에 대한 이론해의 검증이 요구되며, 본 연구에 비해 윤압이 증가하는 경우, 토피고의 깊이가 변하는 경우, 토질 조건이 달라지는 경우 등은 국내외 지침서를 통해 매설관의 구조적 안정성을 직접 평가하는 것이 적절할 것으로 판단된다.










